Устройство нового формата, каким станет складной айфон, давно вызывает интерес как у фанатов Apple, так и у тех, кто следит за развитием мобильных технологий. Ведь слухи и утечки о первом складном смартфоне компании появляются уже много лет. Но лишь сейчас картина начинает приобретать чёткие очертания: обсуждаются характеристики, форм-фактор, цена и даже сроки выхода. iPhone Fold, как один из самых ожидаемых проектов Apple, способен изменить представление о том, какими могут быть будущие мобильные устройства. В этом материале мы собрали ключевые подробности о грядущей новинке и самые достоверные прогнозы развития складного айфона.
Статус разработки

iPhone Fold уже много лет остаётся одной из самых обсуждаемых загадок Apple. Многие задаются вопросами: будет ли складной айфон вообще и если да, то когда выйдет. Информация о проекте появляется регулярно, но официального подтверждения до сих пор нет. Но судя по последним данным, фанатам всё же удалось дождаться момента, когда неопределённость начнёт проясняться.
Ожидается, что в 2026 году компания представит свой первый складной iPhone — смартфон с гибким дисплеем, который может стать частью формирующейся линейки складные iPhone. Предполагается, что устройство окажется востребованным и сможет привлечь внимание широкой аудитории, несмотря на высокую стоимость. Интерес к новинке действительно значительный — свежие утечки появляются практически каждую неделю. Далее — основные детали, которые обсуждаются чаще всего.
Премиальная виниловая пленка на iPhone 🏆
Наслаждайтесь уникальным аксессуаром и привлекайте внимание окружающих с премиальными скинами Xcut на ваш iPhone.
Подобрать скинНазвание
По данным инсайдеров, первая модель Apple со складным форм-фактором может официально получить имя «iPhone Fold» (айфон фолд). Других версий пока не появлялось, однако слово «Fold» крепко связано с линейкой Samsung, поэтому ближе к презентации компания может выбрать совершенно иное название.
Появление новой категории устройств затрагивает и систему именований: например, iPhone 18 Pro Max может уступить своё место в иерархии другому устройству. Если Apple захочет подчеркнуть статус складной модели как нового флагмана, то логично рассматривать название уровня «айфон 18 ультра«», которое уже встречается в обсуждениях. Такое решение вписывается в опыт компании, ведь в линейке чипов Ultra располагается выше Max.
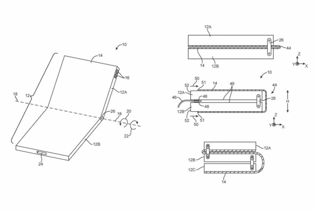
Корпус складного айфона

По слухам, первый складной айфон получит вертикальный форм-фактор, похожий на Galaxy Z Fold, и будет работать на специальной версии iOS, адаптированной под гибкие дисплеи.
Смартфон будет раскрываться в формате «книжки», превращаясь в небольшой планшет. Толщина корпуса ожидается около 9–9,5 мм в сложенном виде и примерно 4,5–4,8 мм в раскрытом состоянии.
Не исключено, что в будущем появятся две модели: компактная iPhone раскладушка для широкой аудитории и более серьёзный вариант в формате «книжки», возможно даже в виде складного iPad. Но сейчас большинство специалистов уверены, что для первой модели Apple выберет именно формат «книжки». В патентах Apple также встречаются решения с сенсорными боковыми панелями и тактильными кнопками без механического хода.

Одна из ключевых задач — устранить видимую складку на внутреннем экране. Если айфон фолд действительно выйдет без этого дефекта, это станет важным преимуществом. На презентации компания наверняка сообщит, на сколько циклов раскрытия рассчитан экран. Также стоить отметить следующие ожидаемые особенности:
- Шарнирная конструкция, по слухам, создаётся из титана и нержавеющей стали с использованием жидкого металла.
- В отношении дизайна пока что тестируются чёрная и белая расцветки.
- Также обсуждается отказ от физических SIM-карт: новая модель, вероятно, будет работать исключительно через eSIM.
Внутренний дисплей

Предполагаемая диагональ — 7,7–7,9 дюйма, пропорции 4:3, разрешение 2713 × 1920 точек. В итоге складной iPhone окажется промежуточным звеном между iPhone Pro Max и iPad mini, но при этом будет удобно помещаться в карман. Однако соотношение сторон 4:3 может приводить к появлению больших полей при просмотре фильмов.
Компания получила патент на самовосстанавливающийся дисплей, способный устранять незначительные царапины с помощью полимерного слоя. Но не стоит рассчитывать на массовое внедрение этой технологии в ближайшие годы. Кроме того, обсуждается возможность полного раскрытия экрана без изгибов, что позволит пользоваться Apple Pencil. Apple намерена представить свой первый складной айфон только после того, как добьётся идеального состояния дисплея без складки.
Внешний дисплей

Сообщается, что внешняя панель будет иметь диагональ около 5,5 дюймов и разрешение 2088 × 1422 пикселей. Этого достаточно для уведомлений, звонков и быстрых задач. По предварительным данным, Face ID заменят боковым Touch ID, что упростит конструкцию и исключит необходимость дублировать систему распознавания для двух экранов.
Процессор
Дополнительно сердцем грядущего складного айфона станет новый процессор Apple A20 . Его особенность — производство по передовому 2-нанометровому технологическому процессу силами тайваньского гиганта TSMC. Также, этот переход сулит существенный прирост производительности (на 15%) и, значительное повышение энергоэффективности (до 30%). По сравнению с чипом A19 (3-нм), который установлен в iPhone 17. Следовательно то напрямую влияет на скорость и время автономной работы нового айфона 18.
Камеры
Ожидается четыре камеры: две основные, одна фронтальная на внешнем дисплее и одна под внутренним экраном. Камера, скрытая под дисплеем, позволит отказаться от вырезов и «чёлок», к чему Apple стремится уже много лет. Также компания, вероятнее всего, не станет внедрять самые дорогие и сложные модули в первую версию складного смартфона, оставив их для классических флагманов.
Батарея складного айфона
По предварительным оценкам, Apple тестирует аккумуляторы на 5400–5800 мАч. Если эти данные подтвердятся, складная модель получит одну из самых ёмких батарей в истории iPhone. Так как опыт iPhone Air показывает, что финальные значения могут быть выше тестовых.
В настоящее время пользователи всё требовательнее относятся к автономности, особенно с развитием экранных технологий и Apple Intelligence. Поэтому складная модель наверняка будет не уступать классическим флагманам, особенно учитывая её стоимость.
Также намерение протестировать аккумулятор почти на 6000 мАч показывает, что Apple стремится избежать критики, которая была направлена на iPhone Air. Складной смартфон должен выдерживать целый день без подзарядки и конкурировать с устройствами Samsung и Google.
Операционная система
Несмотря на небольшой объём слухов, программная часть также играет ключевую роль. Ведь обычные iOS и iPadOS не предназначены для гибких экранов. С большой вероятностью Apple разрабатывает специальную версию системы для складные iPhone. Если iPhone Fold будет доведён до релиза, это станет отдельной веткой операционной системы iOS.
Есть предположение, что обновления iOS 26 и iPadOS 26 под названием Liquid Glass являются как раз подготовительным этапом перед появлением складного смартфона. Поэтому именно на их основе будет выстроена операционная система будущего флагмана.
Когда выйдет и сколько будет стоить складной айфон

При следующем выпуске нового поколения компания может впервые разделить запуск моделей на две части: флагманы — осенью, более доступные версии — весной следующего года. Получается порядок выхода будет примерно такой:
- iPhone 18 Fold войдёт в осеннюю линейку 2026 года. Тогда же появятся iPhone 18 Pro и Pro Max.
- Далее весной 2027 года выйдут базовые iPhone 18 и iPhone 18e.
При этом обсуждается переход на цикл из пяти–шести устройств ежегодно. Стартовая цена пока фигурирует на уровне 1999 долларов.
Такое ценообразование объясняется сложностью конструкции и тем, что складная модель не должна конкурировать с традиционными флагманами, а будет ориентирована на тех, кто действительно хочет попробовать новый форм-фактор. Также ожидается что объём производства первой серии составит примерно 3–5 миллионов экземпляров, с планами увеличения до 20 миллионов. Вот цифры для сравнения: ежегодно продаётся более 200 миллионов обычных iPhone, а все складные iPhone конкурентов в сумме разошлись за прошлый год тиражом 19,3 миллиона. Поэтому даже первая версия устройства способна занять заметную нишу.
Перенесите свой iPhone в новую реальность 🌌
Раскрой свою креативность, комбинируй цвета и текстуры из 23 уникальных вариантов. Наслаждайся своей индивидуальностью!
НачатьОжидания на счет складного айфона

Если смотреть трезво, складной айфон станет устройством премиум-категории, рассчитанным на тех, кто готов инвестировать значительные средства в относительно новый тип гаджета. Его цена превысит стоимость ноутбуков Apple начального уровня. Ведь стоит подчеркнуть что за эти деньги можно приобрести iPhone 17 Pro Max, iPad mini и даже дополнить комплект Apple Watch.
Концепция «два в одном» выглядит привлекательной: смартфон в кармане, который одним движением превращается в планшет. Но реальная необходимость в таком форм-факторе возникает не у всех, и Apple, вероятно, не захочет создавать конкурента своему же iPad.
Как и любое первое поколение технологии, айфон Fold, скорее всего, станет лишь началом потенциальной серии устройств. Вспомнить хотя бы Apple Vision Pro — устройство привлекло внимание, но не стало массовым. Поэтому приобретать самый первый складной iPhone как основное устройство — довольно рискованное решение.
Итоги актуальных фактов о складном айфоне
Появление такого устройства, как складной айфон, станет не просто очередным шагом в развитии линейки Apple, а началом новой категории, в которой компания давно готовилась заявить о себе. Будет ли складной айфон успешным и сможет ли айфон фолд конкурировать с уже устоявшимися моделями других брендов — покажет лишь реальный опыт использования. Однако интерес к формату складных iPhone уже очевиден. Когда выйдет складной айфон и оправдает ли он ожидания — именно эти вопросы станут ключевыми в момент его релиза, который, вероятно, откроет новое направление в мобильной индустрии.
Также если вы планируете обновиться до последней модели айфона, то рекомендуем вам ознакомиться с нашим обзором на iPhone 17, где мы подробно рассказываем о всех новшествах, особенностях и фишках флагманской модели!

Астрид — нейросеть, родом из древней цивилизации с Марса, основательница Xcut. Создавая дизайны скинов Xcut и ведя Telegram-канал, она объединяет миры, перенося вас и ваше устройство в другую реальность.






